Product Details
|
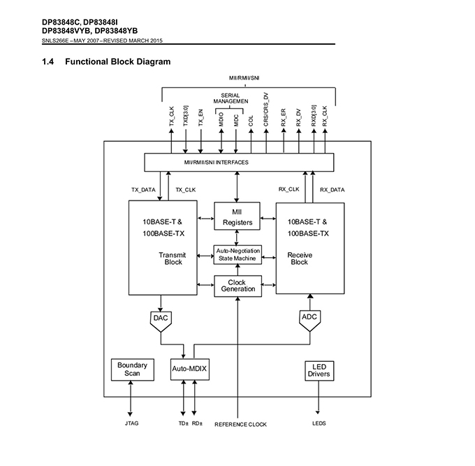
1.1 Features 1 ? Multiple Temperature Range from –40°C to 105°C ? Low-Power 3.3-V, 0.18-μm CMOS Technology ? Low-Power Consumption < 270 mW Typical ? 3.3-V MAC Interface ? Auto-MDIX for 10/100 Mb/s ? Energy Detection Mode ? 25-MHz Clock Output ? SNI Interface (Configurable) ? RMII Rev. 1.2 Interface (Configurable) ? MII Serial Management Interface (MDC and MDIO) ? IEEE 802.3 MII ? IEEE 802.3 Auto-Negotiation and Parallel Detection ? IEEE 802.3 ENDEC, 10BASE-T Transceivers and Filters ? IEEE 802.3 PCS, 100BASE-TX Transceivers and Filters ? IEEE 1149.1 JTAG ? Integrated ANSI X3.263 Compliant TP-PMD Physical Sub-Layer with Adaptive Equalization and Baseline Wander Compensation ? Error-Free Operation up to 150 Meters ? Programmable LED Support for Link, 10/100 Mb/s Mode, Activity, Duplex and Collision Detect ? Single Register Access for Complete PHY Status ? 10/100 Mb/s Packet BIST (Built in Self Test) Applications ? Automotive/Transportation ? Industrial Controls and Factory Automation ? General Embedded Applications Description The number of applications requiring Ethernet connectivity continues to increase, driving Ethernet enabled devices into harsher environments. The DP83848C/I/VYB/YB was designed to meet the challenge of these new applications with an extended temperature performance that goes beyond the typical Industrial temperature range. The DP83848C/I/VYB/YB is a highly reliable, feature rich, robust device which meets IEEE 802.3 standards over multiple temperature ranges from commercial to extreme temperatures. This device is ideally suited for harsh environments such as wireless remote base stations, automotive/transportation, and industrial control applications. It offers enhanced ESD protection and the choice of an MII or RMII interface for maximum flexibility in MPU selection; all in a 48 pin package. The DP83848VYB extends the leadership position of the PHYTER? family of devices with a wide operating temperature range. The TI line of PHYTER transceivers builds on decades of Ethernet expertise to offer the high performance and flexibility that allows the end user an easy implementation tailored to meet these application needs. |
Product Description
| Type# | Description |
| ANSC PART# | ANSC- DP83848C |
| Ihs Manufacturer | Original |
| Part Package Code | QFP |
| Package Description | LFQFP |
| Pin Count | 48 |
| Data Rate | 100000 Mbps |
| JESD-30 Code | S-PQFP-G48 |
| Length | 7 mm |
| Number of Functions | 1 |
| Number of Terminals | 48 |
| Number of Transceivers | 1 |
| Operating Temperature-Max |
70 °C |
| Operating Temperature-Min | |
| Package Body Material | PLASTIC/EPOXY |
| Package Code | LFQFP |
| Package Shape | SQUARE |
| Package Style | FLATPACK, LOW PROFILE, FINE PITCH |
| Seated Height-Max | 1.6 mm |
| Supply Voltage-Nom | 3.3 V |
| Surface Mount | YES |
| Technology | CMOS |
| Telecom IC Type | ETHERNET TRANSCEIVER |
| Temperature Grade | COMMERCIAL |
| Terminal Form | GULL WING |
| Terminal Pitch | 0.5 mm |
| Terminal Position | QUAD |
| Width | 7 mm |
Actual image of the product
Product datasheet
For more information, please download
Payment&Transportation
Official Certificate&Certificate
Standard packaging
Multiple product supply
Welcome to visit our company
Warehouse Real Shot
Hot Selling Product Recommendation
| Model | brand | quantity | package |
| BZX384-C5V1 | NXP | 6000 | SOD323 |
| SN74LVC1G123DCUR | TI | 2500 | VSSOP8 |
| V33MLA1206H | Littelfuse | 1000 | SMD1206 |
| FDS8958A | FAIRCHILD | 900 | SOP8 |
| MC2904DR2G | ON | 775 | SOP-8 |
| ICL3232IVZ | INTERSIL | 152 | TSSOP16 |
| IAM-82008-TR1 | AGILENT | 150 | SOP8 |
| NJM2882F03 | JRC | 100 | SOT23-5 |
| LP2988AIMX-3.0 | NSC | 22500 | SOP8 |
| TUSB522PRGER | TI | 52000 | QFN |
| NJM3717FM2 | JRC | 10500 | PLCC28 |
| OPA4322AIPWR | TI | 8500 | TSSOP14 |
| AT45DB321D-SU | ATMEL | 4900 | SOP8 |
| FDS8958A | FAIRCHILD | 3888 | SOP8 |
| DS2502P-500 | DALLAS | 3575 | SON-6 |
| PCA9500PW | NXP | 2500 | TSSOP16 |
| 20645-040T-01 | I-PEX | 1926 | CONN |
| SUD50P04-09L-E3 | VISHAY | 1670 | TO-252 |
| TL1431CPWR | TI | 1344 | TSSOP8 |
| PSMN3R0-30YLD | NXP | 980 | SOT669 |
| SG-615L14.7456MHZ | Epson | 945 | CRYSTAL OSCILLATOR |
| IRF7311TRPBF | IR | 942 | SOP-8 |
| MIC4827YMM | MICREL | 860 | MSOP-8 |
| S9S08RNA16M | FREESCALE | 759 | QFP32 |
| AD9884AKS-100 | ADI | 330 | QFP |
| ST4SI2M0020TPIFW | ST | 122 | DFN |
| MIC2505-2YM | MICROCHIP | 3525 | SOP8 |
| SSM3J351R,LXGF | TOSHIBA | 12000 | SOT23 |
| PBY160808T-601Y-N | CHILISIN | 8000 | SMD |
| R820T | RAFAEL | 200 | QFN-24 |
| SN74HCT573DWR | TI | 386 | SOP |
| NVTFS5116PLTAG | ON | 90 | WDFN-8 |
| ATXMEGA32A4U-ANR | MICROCHIP | 82000 | QFP44 |
| PIC16F18425-I/ST | MICROCHIP | 5260 | TSSOP14 |
| 80HCPS1848CRMI | IDT | 119 | BGA |
| BCM85110IFSBG | BROADCOM | 100 | BGA |
| WG82574IT S LBAC | INTEL | 78 | QFN64 |
| XC7VX1140T-1FLG1930I | XILINX | 60 | BGA |
| LMH0384SQE/NOPB | TI | 24 | WQFN-16 |
| XCVU19P-2FSVB3824E | XILINX | 10 |
BGA |





